ФИЗ.ЛИЦАМ:
+7(985) 211-04-80
water@bwt.ruОРГАНИЗАЦИЯМ:
+7(495) 225-33-22
info@bwt.ru
Благодарим за доверие, которое вы нам оказали, купив изделие БВТ.
Сетевой блок питания в управляющей головке изготовлен по типу размещения Z (DIN 57700/VDE 0700). При повреждении провода следует менять весь блок.
Монтаж оборудования должна проводить организация водоснабжения или фирма, имеющая лицензию на проведение монтажных работ.
Следует ознакомить жителей дома с установкой умягчения и принципом ее работы, а также применяемыми регенерирующими средствами.
"Для восстановления действия установок умягчения" можно использовать только регенерирующие средства на основе выварочной соли, соответствующие DIN 19604.
Использование умягченной питьевой воды для полива растений и для аквариумов.
Для некоторых растений и аквариумных рыб требуется вода особого состава. Поэтому, прежде чем использовать умягченную воду, в каждом отдельном случае необходимо определить по специальным справочникам пригодность такой воды для полива растений, заполнения аквариумов и прудов.
Если вода после регенерации и переливная вода отводятся в сифонный трубопровод, при отключении электроэнергии может произойти переполнение.
Грязная емкость для регенерирующего средства может повредить установку и ухудшить качество воды. Через регулярные промежутки, а также при загрязнении следует мыть емкость питьевой водой.
Проверка жесткости воды
Следует регулярно проверять жесткость исходной воды и заданную жесткость умягченной воды и при необходимости изменять настройку. Указанные сроки проверки являются минимальными, в зависимости от условий эксплуатации их следует соответственно сокращать.
| Область применения | Проверка жесткости неочищенной воды | Проверка жесткости смешанной воды умягченной воды |
| Жилой дом | ежемесячно | ежемесячно |
| Промысел | ежемесячно | еженедельно |
| Промышленность | еженедельно | еженед./ежедневно |
| Котлы/кондиционир. | еженедельно | ежедневно |
| Очистка воды для мембран.технологий | еженедельно | ежедневно |
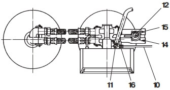
Сдвоенная установка умягчения воды, управление по расходу (=DWZ)
1 Головка управления
2 Колонка умягчителя с ионообменной смолой
3 Емкость для соли/рассола
4 Место для хранения запаса регенерирующего средства
5 Решетчатое дно
6 Пространство для рассола
7 Солевой клапан
8 Переливной патрубок
9 Завинчивающаяся крышка
10 Шланг для рассола
11 Патрубок для отвода промывочной воды
12 Водосчетчик
13 Вилка с соединительным шнуром 1,5 м
14 Вход исходной воды
15 Выход умягченной воды
16 Патрубок для шланга для рассола
17 Соединительные шланги 5 м-шланг для промывочной воды 13x2 Прибор определения жесткости AQUATEST


Особые принадлежности:
Арматура для смешивания воды DN 32
Комплект шлангов DN 32/25
Умягчение или частичное умягчение питьевой и хозяйственной воды для защиты трубопроводов и подсоединенного к ним оборудования и арматуры от функциональных нарушений и повреждений, вызываемых известковыми отложениями.
Установки управляются по расходу с помощью головки управления и водосчетчика, встроенного на выходе умягченной воды. Установки работают по принципу ионообмена. Таймер последовательно переключает установку в одно из пяти рабочих положений.
Индикация с правой стороны клапана показывает, в каком рабочем положении находится клапан и какая колонка в работе (колонка 1 с клапаном, колонка 2 с адаптером).
При запуске с помощью программирующего колеса задается запас умягченной воды, необходимый между двумя регенерациями (в зависимости от жесткости используемой воды).

Соблюдать местные требования к проведению монтажных работ, общие нормы, гигиенические нормы и технические данные. Перед монтажом установки умягчения следует промыть водопроводную сеть.
На расстоянии макс. 1 м до установки умягчения установить защитный фильтр. Фильтр должен работать еще до монтажа умягчителя. Так можно гарантировать защиту умягчителя от попадания частиц грязи или продуктов коррозии.
Проверить необходимость установки аппарата для дозирования минеральных веществ, чтобы защитить установку от коррозии.
Для монтажа установки выбрать такое место, которое обеспечивает легкое подсоединение к водопроводной сети. Должно быть подключение к канализации (мин. DN 50), рядом с установкой отдельная розетка (230 В/50 Гц).
Обеспечить постоянное электроснабжение (230 В/50 Гц) и требуемое рабочее давление. Установка не имеет отдельной защиты от недостатка воды при необходимости защиту устанавливает заказчик.
Устанавливать в теплом помещении, защищать от воздействия растворителей, различных химических веществ, красителей, паров и высоких температур.
Если умягченная вода используется в питьевых целях, температура окружающей среды не должна превышать 20 °C.
Если умягченная вода используется исключительно для технических целей, температура окружающей среды не должна превышать 40 °C.
Шланг от переливного патрубка емкости для рассола и шланг промывочной воды отвести с уклоном к канализации или подсоединять к насосу.
Установку можно подсоединить к водопроводной сети с помощью обычных фитингов и запорной арматуры. Гораздо практичнее монтаж с помощью комплекта шлангов DN 32/25 (Особые принадлежности), позволяющий экономить время и деньги.
Если шланг подсоединен к насосу (мин. 2 м3/час или 35 л/ мин), он должен быть устойчивым к воздействию соли.
Максимальное рабочее давление установки составляет 8 бар. При более высоком давлении в сети перед умягчителем следует установить редуктор давления.
Требуемое минимальное рабочее давление для работы установки составляет 2 бар.
При колебаниях давления или толчках давления сумма толчков и давления покоя не должна превышать номинальное давление, при этом положительный толчок давления не должен превышать 2 бар, а отрицательный не должен быть ниже установленного давления потока более чем на 50% (DIN 1988, часть 2.2.4).
Установку можно подсоединить к водопроводной сети с помощью обычных фитингов и запорной арматуры. Гораздо практичнее монтаж с помощью комплекта шлангов DN 32/25 (Особые принадлежности), позволяющий экономить время и деньги.
1. Установить емкость на ровную и прочную поверхность.
2. Подсоединить емкость с клапаном к водопроводу. Стрелки на клапане показывают вход исходной воды (14) и выход умягченной воды (15).
3. Соединить колонки со смолой прилагаемыми панцирными шлангами (17) с плоскими уплотнениями.
4. Один шланг для промывочной воды укрепить на патрубке для промывочной воды (11) с помощью хомута и отвести с естественным уклоном к канализации (стоку). Конец шланга закрепить с помощью прилагаемого крепежного материала на случай перепадов давления.
5. Другой шланг для промывочной воды вставить в переливной патрубок (8) емкости для рассола, закрепить хомутом и отвести с уклоном к канализации (стоку).
Оба шланга не должны иметь поперечных изгибов.


Внимание: согл. DIN 1988 шланги для промывочной и переливной воды должны крепиться над канализационным сливом на расстоянии мин. 20 мм от максимально возможного зеркала воды (с разрывом струи).
Проверить правильность подсоединения к электричеству, воде и канализации (в соотв. с DIN 1988, часть 4).
1. Открыть запорный кран перед установкой умягчения и пустить воду в колонку умягчителя.
2. Вставить вилку (13) в розетку.
Кабель водосчетчика пока не вставлять в крышку счетчика.
3. Установить таймер в положение обратной промывки. Для этого повернуть кнопку ручной регенерации по часовой стрелке, чтобы контактный палец микровыключателя подошел к первой группе штифтов (см. рис. внизу). В этом положении установка автоматически переключается с одной колонки на другую (нижний поршень), клапан приходит в положение обратной промывки (верхний поршень). Прежде чем дальше вручную переключить таймер, обязательно подождать, чтобы оба поршня завершили свое движение.
При слишком быстром переключении клапан не успевает вернуться в свое рабочее положение (а также в любое другое положение). Чтобы это исправить, повернуть ручную кнопку в рабочее положение и снова переключить в положение обратной промывки.
Примечание: как только клапан сам достигнет положения обратной промывки, схема возврата в исходное положение будет заблокирована.
4. Когда будет выпущен весь воздух, таймер медленно поворачивать дальше, на подачу соли, быструю промывку и подачу рассола. Перед вращением в следующее положение выждать, чтобы поршневой двигатель остановился в предыдущем положении.
После возвращения в рабочее положение вывести клапан еще раз в положение обратной промывки. После этого клапан переключает на другую колонку, и здесь также сбрасывается воздух.
Повернуть клапан дальше в рабочее положение. Оставить таймер открытым.
Т.к. ионообменная смола регенерируется при первом заполнении, речь идет не о настоящей регенерации, а о промывке, при которой вымывается в канализацию мелкая фракция (менее 0,20 мм, что видно по коричневатой окраске промывочной воды). Когда в конце "первой регенерации" начинает выходить прозрачная вода, можно делать забор воды. Если коричневатая окраска остается, нужно вручную запустить дополнительную регенерацию.
Только после окончания первой регенерации обеих колонок со смолой можно открывать подачу воды от установки.

Ввод запаса умягченной воды:
Определить жесткость исходной воды с помощью прибора AQUATEST или запросить данные в водоканал хозяйстве.
Зная жесткость исходной воды и емкость умягчителя, можно с помощью следующего уравнения рассчитать задаваемый запас умягченной воды.
![]()

Из рассчитанного запаса умягченной воды нужно вычесть количество воды, необходимое для регенерации (таблица слева), и задаваемый запас умягченной воды составит:
Задаваемый запас умягченной воды = напр,. 3,6 м3
Теперь нужно настроить запас умягченной воды на программирующем колесе. Для этого слегка поднять внутренний диск колеса настройки и поворачивать так, чтобы белая точка показала на рассчитанное значение.
Для промышленных установок важно:
Моменты времени, при которых начинается регенерация и счетчик уходит в нулевое положение, показывают разницу во времени 9 мин. При использовании в быту это значение не имеет, но в промышленных установках следует учитывать эту разницу во времени. Из задаваемого запаса умягченной воды следует вычесть количество воды, соответствующее 9- минутному потоку воду.
Внимание:
Если расход воды настолько велик, что емкость работающей колонки истощается раньше, чем таймер снова достигнет своего рабочего положения, пусковой палец пройдет через указанное положение и останется стоять на пластине возврата.
В этом случае автоматическая регенерация проводиться не будет, блок нужно будет рукой привести в нужное положение. Для этого сначала повернуть ручную кнопку регенерации дальше, в положение обратной промывки, а затем поднять пластину возврата. Затем программирующее колесо должно само прийти в нулевое положение.

Настройка остаточной жесткости:
(Только при использовании арматуры для смешивания DN 32, см. Особые принадлежности)
С помощью установочных шпинделей арматуры для смешивания, постепенно открывая, установить остаточную жесткость 8 °d (перепроверить с помощью прибора AQUATEST).
В Законе о питьевой воде было установлено предельное значение содержания в воде натрия: 150 мг/лl vor (а с 1.1.2003 B 200 мг/л). Такая низкая граница выбрана для того, чтобы питьевой водой могли пользоваться люди, придерживающиеся диеты с низким содержанием натрия.
Т.к. установки умягчения заменяют кальций и магний, образующие соли жесткости, на натрий, при снижении жесткости исходной воды на 1 °d содержание натрия увеличивается на 8,2 мг/л. При высокой жесткости воды или высоком содержании натрия в питьевой воде нужно при необходимости устанавливать остаточную жесткость больше 8 °d.
Расчет содержания натрия в частично умягченной воде:
Уменьшение жесткости исходной воды на 1 °d повышает содержание натрия на 8,2 мг/л.
Жесткость исходной воды - жесткость смешанной воды x 8,2 мг/л = повышение содержания натрия.
Содержание натрия в исходной воде + повышение содержания натрия (в результате умягчения) = содержание натрия в частично умягченной воде.
Добавочное дозирование повышает содержание натрия прибл. на 5 мг/л.
Содержание натрия в исходной воде, остаточное содержание натрия, а также жесткость исходной воды и остаточная жесткость вносятся в протокол установки (последняя страница).

Программирование циклов регенерации
Циклы регенерации клапана уже настроены на заводе. Но вы можете удлинить или сократить циклы для подгонки к местным условиям.
Потянуть вперед таймер в нижнем правом углу и откинуть его влево (кабель счетчика не должен быть вставлен в крышку водосчетчика (12)).
Для изменения циклов регенерации нужно вынуть программирующее колесо. Для этого взяться за колесо и слегка сжать оба язычка. Колесо можно вынимать (при необходимости слегка приподнять палец контакта выключателя). После изменения циклов снова вставить колесо и таймер. Следить за тем, чтобы все кабели лежали сверху стопорного пальца!
Заводская настройка циклов регенерации: см. таблицу !
| Rondomat | A=штифт | B=отверст | C=штифт | D=отверст | E=штифт |
| 50 DWZ | 5 | 30 | 5 | 40 | 2 |
| 100 DWZ | 5 | 30 | 5 | 40 | 2 |
| 200 DWZ | 5 | 30 | 5 | 40 | 2 |
| 200 DWZ | 5 | 40 | 5 | 30 | 2 |
Изменение длительности обратной промывки "A" Положение программирующего колеса, показанное на верхнем рисунке, является рабочим. Первый ряд штифтов, начиная с нуля, определяет длительность обратной промывки.
Пример:
При 5 штифтах длительность промывки составляет 10 минут (по 2 минуты на штифт). Для изменения длительности промывки просто удалить или добавить соответствующее количество штифтов.
Изменение длительности подачи соли и медленной промывки "B" Отверстия между последним штифтом обратной промывки и вторым рядом штифтов определяют длительность медленной промывки и подачи соли (по 2 минуты на отверстие).
Для изменения длительности передвинуть вторую группу штифтов так, чтобы количество отверстий соответствовало задаваемому промежутку времени.
Изменение длительности быстрой промывки "C"
Вторая группа штифтов на программирующем колесе определяет длительность быстрой промывки (по 2 минуты на штифт). Для изменения этого времени удалить или добавить соответствующее количество штифтов.
Изменение длительности подачи рассола "D" Отверстия между второй и третьей группой штифтов определяют длительность подачи рассола (по 2 минуты на отверстие). Для изменения этого параметра соответственно передвинуть оба штифта третьей группы "E".
Цикл регенерации считается завершенным, как только внешний микровыключатель пройдет мимо штифтов "E". Но программирующее колесо будет вращаться дальше, пока внутренний микровыключатель не войдет в прорези колеса.

Приготовление рассола:
Открутить и снять крышку (9) емкости для соли/рассола (3). Заполнить пространство для рассола (6) до решетчатого дна (5) умягченной водой.
Как только вода поднимется на 2 см над уровнем дна, проверить, отключилось ли автоматическое устройство заливки воды.
Засыпать регенерирующее средство, макс. 75150 кг в пространство для хранения запаса соли (все регенерирующие соли, имеющиеся в продаже, соответствуют требованиям DIN 19604), оптимальнее всего засыпать весь мешок полностью.
Внимание: если предполагается немедленный забор большого количества воды (напр., для заполнения бассейна), выждать 2 часа для образования рассола!
Меры безопасности: еще раз проверить все соединения на герметичность.
Закрыть крышку счетчика, прикрутить крышку емкости и вставить вал счетчика (12)!

Установка готова к работе.
Передача установки пользователю:
Если между монтажом установки и ее передачей пользователю должно пройти какоето время, перед передачей провести ручную регенерацию. Ознакомить пользователя с принципом работы, обслуживанием и проверкой установки (в соотв. с инструкцией). Передать пользователю инструкцию по эксплуатации.
Прерывание работы и повторный запуск
При длительном отсутствии, напр., более 3 дней, рекомендуется отключать установку.
При последующем запуске на 5 минут полностью открыть все краны, чтобы спустить застоявшуюся воду (DIN 1988 ч. 8.5-6).
Добавка регенерирующего средства
"Для восстановления действия установок умягчения" можно использовать только регенерирующие средства на основе выварочной соли, соответствующие DIN 19604.
Регенерирующая соль добавляется самое позднее, когда становится видным решетчатое дно емкости (3).
Открутить крышку (9) емкости для рассола (3) и засыпать макс. количество соли. Всегда засыпать все мешки полностью. При этом следить, чтобы в емкость не попала грязь (при необходимости очищать мешки снаружи от грязи). После этого снова закрыть крышку.
Если в емкости появилась грязь, промыть ее питьевой водой. Если регенерации проводятся регулярно, необходимости в дезинфекции нет. Но после длительного простоя установки в теплом помещении рекомендуется наряду с регенерацией провести обеззараживание (вызвать сервисную службу).
Ручной запуск регенерации
См. раздел "Запуск".
Проверка и изменение настроек
Если изменится жесткость исходной воды (напр., при смене организации водоснабжения), следует изменить настройки, см. раздел "Запуск".

Чтобы обеспечить бесперебойную работу установки, пользователь должен регулярно проводить следующие проверки и вносить данные в протокол:
Контроль давления в сети/давления потока 1 раз в неделю
Контроль заполнения регенерирующего средства по израсходовании
Контроль загрязнения емкости для рассола 1 раз в 2 месяца
Визуальная проверка герметичности 1 раз в 2 месяца
Контроль функций/позиции программирования 1 раз в 2 месяца
Проверка жесткости воды
Следует регулярно проверять жесткость исходной воды и заданную жесткость смешанной воды, вносить данные в протокол и при необходимости изменять их (см. разделы "Меры безопасности" и "Запуск").
Контроль жесткости исходной воды
Жилой дом / промысел 1 раз в месяц
Промышленность/котлы/кондиционирование 1 раз в неделю
Очистка воды для мембранных технологий 1 раз в неделю
Контроль жесткости умягченной воды/остаточн.жесткости
Жилой дом / промысел 1 раз в месяц
Промышленность - по потребности; на умягченной воде 1 раз в день
Котлы/кондиционирование 1 раз в день
Очистка воды для мембранных технологий 1 раз в день
В случае неисправности во время действия гарантии обращаться в сервисную службу, указывая наименование и номер изделия (см. Технические данные или типовую табличку).
Вы приобрели изделие, имеющее большой срок эксплуатации и не требующее особого технического ухода. В то же время для поддержания безупречного рабочего состояния любое оборудование требует проведения регулярных сервисных работ.
Условием безупречной работы и сохранения гарантии является обратная промывка фильтра пользователем. Следует проверять работу установки в зависимости от условий эксплуатации, но не менее 1 раза в 2 месяца.
Еще одно условие хорошей работы B замена изнашиваемых деталей в предписанные сроки. Согласно DIN 1988 часть 8, техническое обслуживание проводится 1 раз в год, а у общественных установок - 2 раза в год.
Обслуживание и замена изнашиваемых деталей:
Проверка клапана управления 1 x в год
Проверка солевого клапана 1 x в год
Проверка загрузочного клапана, загруз.заслонки 1 x в год
Проверка водосчетика 1 x в год
Инжектор 1 х в 3 года
Загрузочная заслонка 1 х в 3 года
Загрузочный клапан 1 х в 5 лет
Уплотнительные кольца, распорные кольца 1 х в 5 лет
Комплект для измерения 1 х в 5 лет
Крышка водосчетчика 1 х в 5 лет
Арматура для смешивания 1 х в 5 лет
Соединительные шланги 1 х в 5 лет
Солевой клапан 1 х в 5 лет
Солевой шланг 1 х в 5 лет
Шланг для отвода стоков 1 х в 5 лет
Емкость 1 раз х в 10 лет
Замену должен проводить персонал сервисной службы или монтажной фирмы.
Рекомендуем заключить договор на сервисное обслуживание с монтажной фирмой или сервисной службой.
| Неисправность | Причина | Устранение |
| Установка не подает умягченную или смешанную воду. |
Нет соли в емкости для рассола (3) Отключена электроэнергия |
Добавить соль и запустить ручную регенерацию. Подключить |
| Установка не дает воду или слишком мала производительность (постоянно идет промывочная вода). |
Слишком мало давление на подаче. Понижено давление в сети. |
Повысить давление на подаче (при необходимости настроить редуктор) и запустить ручную регенерацию. Проверить давление на подаче и запустить ручную регенерацию (см. раздел "Запуск"). |
Если нарушение нельзя устранить с помощью этих рекомендаций, следует обратиться в сервисную службу.
|
RONDOMAT ® E тип |
50 DWZ |
100 DWZ |
200 DWZ |
300 DWZ |
||
|
Номинальный размер присоединения |
DN 25 (R 1" IG) |
|||||
|
Номинальное давление (PN) бар |
10 |
|||||
|
Рабочее давление бар |
|
2,0 |
- |
8,0 |
|
|
|
Номинальный расход м3/час |
2,0 |
2,5 |
3,0 |
3,5 |
||
|
Потери давления при номинальном расходе бар |
1,5 |
1,9 |
2,1 |
2,5 |
||
|
Номинальная емкость м3 x °d |
2 x 50 |
2 x 100 |
2 x 200 |
2 x 300 |
||
|
Количество смолы л |
2 x 17 |
2 x 28 |
2 x 58 |
2 x 86 |
||
|
Запас регенерирующего средства, макс. кг |
75 |
75 |
150 |
150 |
||
|
Расход регенерирующего средства на 1 регенерацию кг |
2,2 |
5,0 |
10,5 |
15,5 |
||
|
Подключение к сети В/Гц |
230/50 (работа при 24 В~) |
|||||
|
Присоединяемая мощность Вт |
10 |
|||||
|
Тип защиты |
IP 22 |
|||||
|
Температура воды/окружающей среды ° C |
30/40 |
|||||
|
A Высота присоединения мм |
930 |
1165 |
1430 |
1430 |
||
|
B Общая высота мм |
1060 |
1295 |
1560 |
1560 |
||
|
C Общая ширина мм |
470 |
470 |
650 |
650 |
||
|
D Общая длина мм |
1140 |
1190 |
1470 |
1620 |
||
|
E Высота переливного устройства мм |
460 |
460 |
650 |
650 |
||
|
F Диаметр баллона со смолой мм |
185 |
215 |
260 |
335 |
||
|
G Диаметр емкости для рассола мм |
470 |
470 |
650 |
650 |
||
|
H Высота емкости для рассола мм |
630 |
630 |
880 |
880 |
||
|
Подсоединение к канализации, мин. |
DN 50 |
|||||
|
Вес в рабочем состоянии, прибл. кг |
175 |
210 |
410 |
500 |
||
|
PNR (=номер изделия) |
6B51201 9 |
6B512020 |
6B512021 |
6B512022 |
||


База знаний