ФИЗ.ЛИЦАМ:
+7(985) 211-04-80
water@bwt.ruОРГАНИЗАЦИЯМ:
+7(495) 225-33-22
info@bwt.ru
| ОПАСНО! | |
![]() |
Перед открыванием корпуса электронного блока для проведения ремонтных работ вынуть штекер из розетки. |
Если поврежден сетевой кабель установки, можно заменить его только оригинальным соединительным кабелем БВТ.
Загрязненная емкость для регенерирующего средства может повредить установку и ухудшить качество воды.
Емкость для регенерирующего средства следует при загрязнении, но минимум 1 раз в год мыть питьевой водой.
Монтаж установки должны проводить предприятия водоснабжения или монтажные фирмы, имеющие лицензию на проведение подобных работ.
В соответствии с Законом о питьевой воде, § 16, жильцы дома должны быть проинформированы о монтаже установки умягчения и ознакомлены с принципом действия и применяемыми регенерирующими средствами.
Использование очищенной воды для растений и аквариумных рыб.
Домашние растения и обитатели аквариумов могут предъявлять особые требования к составу используемой воды. В каждом отдельном случае следует изучать специальную литературу, чтобы выяснить, подходит ли умягченная вода для полива растений или заполнения аквариумов, декоративных бассейнов и прудов для разведения рыб.
При отводе воды после регенерации в подъемную насосную установку есть опасность переполнения при отключении электроэнергии.
Дуплексная установка умягчения Rondomat
Duo S (частично смонтированная) включает:
Специальные принадлежности (не входят в объем поставки):
Применение по назначению
Rondomat Duo S предназначен для умягчения или частичного умягчения питьевой и хозяйственной воды (в соответствии с нормами DIN 1988, части 2 и 7, и DVGW), для защиты трубопроводов и подключенных к ним оборудования и арматуры от функциональных нарушений и повреждений в результате известковых отложений.
Rondomat Duo S – дуплексная установка умягчения, работающая по принципу ионообмена, используя две колонки умягчения.
Во время регенерации подача умягченной воды не прерывается. Регенерация запускается по объему (в зависимости от количества воды). Благодаря этому оставшаяся при регенерации умягченная вода не сливается в канализацию.
Управление установкой осуществляется с помощью полнографического дисплея и встроенной сенсорной панели.
Установка работает, ориентируясь на расход, переключаясь между двумя колонками умягчения разной производительности: одна несет основную нагрузку, другая работает при пиковой нагрузке.
В зависимости от расхода блок управления включает в работу соответствующую колонку и обеспечивает низкое дифференциальное давление даже при высоком расходе. Подмешивание неочищенной воды производится автоматически, до выставленного значения остаточной жесткости.
Дозировка рассола производится с помощью прецизионного измерительного устройства, в зависимости от того, регенерируется ли колонка основной или пиковой нагрузки. Установка оснащена устройством, которое дизинфицирует ионообменную смолу во время регенерации.
Процесс регенерации подгоняется к существующему режиму давления благодаря регистрации данных измерения, расход рассола и воды для регенерации снижается до требуемого минимума.
Благодаря особой конструкции емкости для рассола достигаются самые короткие сроки растворения соли и тем самым очень короткие интервалы регенерации.
На микробиологические показатели умягченной воды влияет, в том числе, и качество используемого регенерирующего средства. Мы рекомендуем применять только Sanitabs.
При запуске в электронный блок управления вводятся жесткость местной питьевой воды и требуемая жесткость смешанной воды. Все остальные параметры установки уже заложены в блоке управления.
Все настройки приборов уже выполнены.
Параметры установки можно запросить на блоке управления. Остаточная емкость показывается в литрах и в графике. Во время работы показывается текущий расход в л/ч.
Можно запрограммировать гигиеническую промывку после длительного простоя, а также напоминание о промывке обратного фильтра.
Программируемая функция AQUA Watch контролирует водопроводную сеть дома на наличие длительно малой скорости потока (<60 л/ч). Длительно малые скорости потока указывают на наличие проблемы в водопроводной сети. При нарушении блок управления подает сигнал.
При появлении нарушения или при отключении электроэнергии контакт разомкнут (макс. нагрузка контакта 24 В DC; 0,5 A).
Данные измерения можно вывести на дисплей.
Можно также вывести на дисплей диаграмму расхода и потока за последние 24 часа. В любое время можно подключить устройство для дозирования минеральных веществ.
Монтажная фирма может внести свой номер телефона на случай возможного обращения заказчика.
Установка соответствует всем актуальным национальным и международным стандартам.
При отключении электроэнергии все запрограммированные значения сохраняются на длительный срок.
Соблюдать местные требования к монтажу, общие нормы, общие гигиенические условия и технические данные.
Умягчители нельзя встраивать в системы подготовки воды для пожаротушения.
Перед монтажом установки умягчения промыть систему трубопроводов.
Умягчаемая исходная вода должна соответствовать параметрам, приведенным в Постановлении о питьевой воде или Директивах ЕС 98Э83. Сумма растворенного железа и марганца не должна превышать 0,1 мг/л.
Подаваемая исходная вода не должна содержать пузырьков воздуха, при необходимости следует устанавливать устройство для удаления воздуха.
Непрерывный режим работы умягчителя на воде, содержащей хлор или диоксид хлора, возможен только, если концентрация свободного хлора/ диоксида хлора не превышает 0,5 мг/л. Тем не менее, непрерывная работа на воде, содержащей хлор/диоксид хлора, ведет к преждевременному старению ионообменной смолы! Умягчитель снижает концентрацию свободного хлора и диоксида хлора, как правило, их концентрация на входе в установку гораздо выше.
Параметры установки должны быть подобраны таким образом, чтобы в зависимости от расхода необходимо было проводить минимум одну регенерацию в день. Если в определенные дни забор воды меньше, например, во время отпуска, после этого следует полностью открыть запорную арматуру мин. на 5 минут, прежде чем брать воду (DIN 1988, часть 4 и 8 и DIN EN 1717).
Использовать для монтажа коррозиестойкие материалы. При сочетании во время монтажа труб, выполненных из разных материалов, обращать внимание на коррозионно-химические свойства - в том числе и в направлении потока воды перед умягчителем.
На трубопроводе, в направлении потока, на расстоянии макс. 1 м до установки умягчения необходимо установить защитный фильтр. Перед монтажом установки умягчения фильтр уже должен быть в готовом рабочем состоянии. Только так можно гарантировать, что в умягчитель не попадут грязь или продукты коррозии.
Следует проверить, нужно ли устанавливать после умягчителя прибор для дозирования минеральных веществ.
Для установки умягчителя выбрать такое место, которое обеспечивает простое подключение к водопроводной сети. Рядом с установкой должны быть отдельная розетка (230В/50Гц), канализационный патрубок (мин. DN 50) и донный слив.
Эмиссия помех (пики напряжения, высокочастотные электромагнитные поля, напряжение помех, колебания напряжения и т.д.) от окружающих электрических установок не должна превышать максимальные значения, указанные в нормах EN 61000-6-4. Необходимо обеспечение постоянной подачи напряжения (230В/50Гц) и требуемого рабочего давления.
Если нет донного слива, необходимо использовать отдельное предохранительное устройство (например, останов подачи воды).
Устанавливать в отапливаемом помещении, защищать от попадания химических веществ, красителей, растворителей и паров, а также от действия высоких температур окружающей среды.
Если умягченная вода используется для питьевых целей (в рамках Постановления о питьевой воде), температура окружающей среды не должна превышать 25 °C.
Если умягченная вода используется только для технических целей, температура окружающей среды не должна превышать 40 °C.
Шланг от перелива на емкости для рассола и шланг для промывочной воды должны отводиться с уклоном к канализации или подсоединяться к системе откачки воды.
В соответствии с EN 1717 шланг для отвода промывочной воды и шланг переливной воды следует закрепить на сливе в канализацию, на предписанном расстоянии от максимально возможного зеркала стоков (расстояние должно быть больше диаметра сточной трубы).
Если промывочная вода подается в подъемную насосную установку, она должна быть рассчитана на количество воды мин. 2 м3/час или 35 л/мин. Если подъемная установка используется одновременно для другого оборудования, ее производительность должна быть рассчитана и на прием воды от этого оборудования. Подъемная установка должна быть выполнена из материалов, устойчивых к соленой воде.
Нельзя превышать максимальное рабочее давление умягчителя (см. Технические данные). При более высоких параметрах давления в сети перед умягчителем следует установить редуктор давления. Для нормальной работы установки следует выдерживать минимальное значение рабочего давления (см. Технические данные). При наличии колебаний давления и гидравлических ударов сумма гидроударов и полного давления потока не должна превышать номинальное давление, при этом положительный гидравлический удар не должен превышать 2 бар, а отрицательный гидравлический удар не должен быть ниже 50% от настроенного давления потока (см. DIN 1988, часть 2.2.4).
Несоблюдение указанных выше условий ведет к прекращению действия гарантии:

Установка поставляется в частично собранном виде.
Установить емкости со смолой на предназначенное для них место. Снять заглушки с управляющих клапанов.
Слегка смазать кольца круглого сечения подходящим смазочным средством.
Уложить 4 внешних кольца круглого сечения на штуцера соединительных шлангов (задняя канавка предназначена для предохранительной скобы). Если при монтаже кольцо получит повреждение – в комплекте поставки имеются запасные кольца.
Шланги вставить в левый соединительный элемент и закрепить предохранительными скобами. Скобы вставлять до упора.
Шланги вставить в правый соединительный элемент и закрепить предохранительными скобами. Скобы вставлять до упора.
Соединить шланги. Вставить на глубину ок. 17 мм и, слегка потянув назад, проверить правильность подсоединения.
Вставить техническую крышку в стопорную шайбу. Закрепить красным зажимом с обеих сторон.
Кабель с желтым штекером от байпасного водосчетчика вставить в желтую втулку технической крышки.
Кабель с серебристо-черным штекером от подмешивающего клапана вставить в серебристую втулку.
Оба черных кабеля от технической крышки вставить в клапаны управления. Кабель 1 влево; кабель 2 вправо. См. красные стрелки.
Вставить красные штекеры в магнитный клапан (без соблюдения полярности).
Тройной штекер насадить на счетчик для рассола (см. насечку), чтобы сработала защелка.
Вставить красные штекеры в магнитный клапан (без соблюдения полярности).
Двухполюсный штекер насадить на электролизную ячейку.
Белый штекер от клапана для рассола вставить в правый клапан управления.
Вставить черный штекер от поплавкового выключателя в черную втулку технической крышки (поплавок).
При необходимости к прибору управления Soft-Control можно подключить:
Контакт сообщения о нарушении на ЦПУ (красная втулка)
Замыкание при отключении электроэнергии, отсутствии соли, коротком замыкании или ток перегрузки от ячейки электролиза и магнитных клапанов, а также при ошибках электроники. Макс. 230 ВV / 2 A AC.
Выход для дозирования (зеленая втулка)
Выходной импульс водосчетчика имеет такую же форму, что и входной импульс. Макс. 5 В, 5 мА DC.
Вставить шланг для рассола в патрубок на глубину ок. 17 мм и, слегка потянув назад, проверить правильность подсоединения.
Вставить шланг для рассола в счетчик рассола на правом клапане управления.
Шланг для промывочной воды от правого клапана управления прочно вставить в Y-образный элемент.
Шланг для промывочной воды, ведущий к канализации (11) прочно вставить в Y-образный элемент.
Все кабели вывести вверх и установить заглушки на клапаны управления.
Вассерстоп, редуктор давления, дозатор устанавливаются опционально, в зависимости от рабочих условий.

Подключить установку в соответствии с прилагаемой схемой.
Рекомендуем производить подключение с помощью экономичного и ненагруженного соединительного комплекта 32/ 32 и Мультиблока X (специальные принадлежности). С их помощью возможен монтаж в вертикальные и горизонтальные трубопроводы.

В Мультиблок X встроен байпас.
Соблюдать монтажные инструкции на Мультиблок и соединительный комплект 32/32, иначе случае повреждения не будет действовать гарантия.
Вымыть возможные частицы грязи, открыв маховик Мультиблока Модуля.
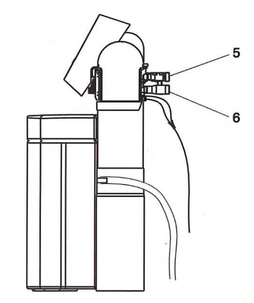
Гофрированный шланг подсоединить к выходу Мультиблока Модуля и соединить с входом неумягченной воды (6). Внимание на стрелки направления движения!
Гофрированный шланг подсоединить к входу Мультиблока Модуля и герметично соединить с выходом умягченной воды (5).
Шланг для промывочной воды (11) отвести с наклоном к канализации (стоку) и закрепить конец шланга прилагаемым крепежным материалом для защиты от гидроударов.
Переливной шланг от емкости для регенерирующего средства (18 x 24) насадить на штуцер защиты от перелива (12), зафиксировать кабельной стяжкой и отвести с уклоном мин. 10 см к канализации (стоку).
Шланги, отведенные к канализации, нельзя соединять вместе, они не должны иметь сужение поперечного сечения.
В соответствии с EN 1717 шланги для промывочной и переливной воды следует закреплять на предписываемом расстоянии от максимально возможного уровня сточных вод (расстояние должно быть больше диаметра сточной трубы).
Индикация рабочих параметров

Проверить правильность монтажа (в соответствии с DIN 1988, часть 4).
Прибором AQUÄTEST замерить жесткость питьевой воды перед умягчителем и записать показание.
Приготовление рассола
Снять крышку (2).
Высыпать емкость (3) 2 - 4 мешка регенерирующего средства (50 -100 кг таблетированной соли согласно DIN EN 973, тип A, например, Clarosal или Sanisal/Sanitabs).
Пространство для рассола (6) при запуске автоматически заполняется питьевой водой.
Указание: если после запуска предполагается большой забор умягченной воды, помните: для образования рассола требуется около 3 часов!
Вставить сетевой штекер в розетку.
Подача воды должна быть еще закрыта.
На дисплее показывается стартовая картинка с номером версии.
Должна пройти фиксация программы на месте.
Прибл. через 40 сек. прекращается легкий шум от выполнения фиксации.
Появляется надпись «Что вы хотите делать?».
Нажать «Произвести запуск»
Если запуск был прерван, его следует повторить (см раздел «Обслуживание»).
Открыть подачу воды (открыть Мультиблок)
Запустить Запуск Промывка
Промываются обе колонки умягчителя. Выждать, пока будет выполняться промывание (ок. 4 минут).
Ввести название фирмы и номер телефона.
Изменить цифры
подтвердить
Настройка жесткости воды
Ввести замеренную на месте жесткость питьевой воды и требуемую жесткость смешанной воды (остаточную жесткость).
Настройка жесткости воды
Ввести замеренную на месте жесткость питьевой воды и требуемую жесткость смешанной воды (остаточную жесткость).
IN Жесткость питьевой воды
Ввести замеренную жесткость питьевой воды.
Изменить цифры
Подтвердить
OUT Требуемая жесткость смешанной воды
Ввести требуемую жесткость смешанной воды (остаточную жесткость). (Рекомендация БВТ: 4° - 8° dH. Предписанная остаточная жесткость в Австрии: 8,4 °dH).
Подтвердить
Сохранить и выполнять дальше
Провести самопроверку
Подтвердить.
Установка проводит промывку и проверяет все функции
Подтвердить.
Установка проводит промывку и проверяет все функции
Открыть кран после установки.
Подтвердить
OK Подтвердить, если все точки загорелись зеленым цветом. Закрыть кран.
Если одна или несколько точек горят красным цветом, провести повторную проверку с RST (см. «Устранение нарушений»).
Пространство для рассола автоматически заполняется водой (длительность заполнения ок. 20 минут).
В постановлении о питьевой воде предельное содержание натрия составляет 200 мг/л.
Предельное значение установлено таким низким с учетом того, чтобы питьевую воду могли использовать для питья и приготовления пищи люди, вынужденные придерживаться диеты с низким содержанием натрия.
Расчет содержания натрия в частично умягченной воде
При сокращении жесткости исходной воды на 1ºd содержание уменьшается на 8,2 мг/л.
Жесткость исходной воды – жесткость подмешиваемой воды х 8,2 мг/л = увеличение содержания натрия.
Еще раз проверить герметичность всех соединений трубопровода.
Запуск завершен.
Установка готова к работе.
Передача установки пользователю
Если между монтажом/запуском и передачей установки пользователю проходит какой-то период времени, следует провести ручную регенерацию. Пользователя следует проинформировать о функции, обслуживании и контроле установки. Передать пользователю инструкцию по монтажу и обслуживанию.
Соблюдать инструкцию по эксплуатации на Мультиблок Модуль и соединительный комплект DN 32/32.
Если регенерации проводятся регулярно (управление по расходу или по времени), дополнительная дезинфекция не требуется. При неблагоприятных условиях, например, при длительных простоях в теплом помещении, может понадобиться дополнительная дезинфекция, проводимая сервисной службой.
1. Запустить ручную регенерацию
2. Сменить колонку
3. Прекратить регенерацию
4. Провести запуск (дальше см. «Запуск»)
Отдельные шаги регенерации показываются на дисплее по мере их прохождения.
Длительность регенерации:
Колонка малая /большая ок.
Rondomat Duo S 1 36/42 минут
Rondomat Duo S 2 35/46 минут
Rondomat Duo S 3 53/72 минут
Через 15 минут появляется экранная заставка, при нажимании снова появляется рабочая индикация.
Проверить и настроить жесткость воды
Проверить жесткость питьевой воды и смешанной воды (остаточная жесткость), при необходимости исправить.
Сохранить измененные значения
N Жесткость питьевой воды
Ввести измеренную жесткость питьевой воды.
OUT Жесткость смешанной водыВвести требуемую жесткость смешанной воды (остаточная жесткость). (Рекомендация БВТ: 4° - 8° dH. Предписанная остаточная жесткость в Австрии: 8,4 °dH).
Изменить цифры
Загружать регенерирующее средство самое позднее в том случае, когда видно решетчатое дно (5), либо когда на дисплее показывается «Недостаточно соли». Можно использовать все регенерирующие соли, имеющиеся в продаже (таблетированная соль в соответствии с DIN EN 973, тип A, например, Clarosal или Sanisal/Sanitabs).
Открыть крышку (2). Засыпать регенерирующее средство в емкость (3).
Нажимать кнопку, пока не погаснет индикация «Недостаточно соли».
После засыпки соли первые две регенерации увеличиваются на 5 минут.
Добавку соли производить таким способом, чтобы не занести загрязнения в емкость для соли (3) (при необходимости перед загрузкой почистить мешки со средством).
Если в емкости для средства (3) или емкости для рассола (6) появились загрязнения, вымыть их питьевой водой.
Неисправны клапан 1 или 2
Внимание! При появлении проблемы вынуть штекер из сети и до упора закрыть маховик на Мультиблоке Модуле (тем самым открывается байпас к подаче воды).
Квитировать ошибку Если ошибка будет показываться дальше, вызвать сервисную службу.
Сервис
Индикация «Сервис» появляется через 500 регенераций или через 12 месяцев. Новый отсчет начинается после того, как через установку пройдет 1 м3 воды.
Изменять, только если понадобится другой
язык.
Здесь можно изменить время дня, дату, жесткость воды и язык (в месте работы установки).
Ansprechpartner (контактное лицо): здесь показывается сервисная служба, отвечающая за обслуживание установки, и монтажная фирма
Изменить время дня
Пример:
Нажимать цифры, которые требуется изменить
Изменить цифры и подтвердить
Подтвердить после полной настройки


Информационная индикация
Здесь показывается фактический объемный поток (расход) и подмешивание воды из байпаса к умягченной воды (остаточная жесткость).
назад
Пики кривой показывают забор воды за последние 24 часа.
Постоянно показываются 8 часов. Кнопками 1, 2, 3можно переключить на следующие 8 часов.
назад
Aqua-Watch: функция AQUA Watch контролирует водопроводную сеть дома на наличие длительно малой скорости потока (<60 л/ч). Длительно малые скорости потока указывают на наличие проблемы в водопроводной сети. При нарушении блок управления подает сигнал.
При появлении нарушения или при отключении электроэнергии контакт разомкнут (макс. нагрузка контакта 24 В DC; 0,5 A).
Фильтр: напоминание проведения контроля защитного фильтра, установленного перед умягчителем (обратная промывка/ замена картриджа фильтра).
Чтобы гарантировать безупречную эксплуатацию установки, пользователь должен регулярно проводить следующий контроль:
Контролировать и при расходе добавлять регенерирующее средство. Проверять жесткость воды Жесткость питьевой воды и настроенную жесткость смешанной воды проверять 1 раз в месяц, при необходимости корректировать (см. «Запуск»). Проверка герметичности, визуальный контроль 1 раз в 2 месяца проверять трубопроводы и соединения на герметичность. 1 раз в 2 месяца проверять наличие загрязнений в отсеке для регенерирующего средства и отсеке для рассола, при необходимости чистить и промывать.
В случае неисправности во время действия гарантии следует обращаться в сервисную службу, называя при этом тип оборудования и PNR = номер изделия (см. Технические данные или типовую табличку на оборудовании)
Вы приобрели долговечное и простое в обслуживании оборудование.
Но для обеспечения нормальной работы необходимо регулярно проводить сервисные работы.
Регулярно проверяйте качество и давление исходной воды. При изменении качества воды произвести при необходимости изменение настроек. Обратитесь по этому вопросу к специалистам сервисной службы.
Дезинфекцию емкости для регенерирующего средства проводить минимум 1 раз в год.
Одним из условий работы и сохранения гарантии является регулярное обслуживание установки. В соответствии с DIN 1988 часть 8 Приложение B установку следует регулярно проверять, в зависимости от рабочих условий, но не реже 1 раза в 2 месяца.
Еще одно условие нормальной работы и сохранения гарантии – замена изнашиваемых деталей в предписанные сроки. В соответствии с DIN 1988 часть 8 Приложение
B обслуживание следует проводить 1 раз в год, в общественных установках 2 раза в год.
| Инспекция и проверка | |
|---|---|
| Обратный клапан | 1 раз в год |
| Система рассола | 1 раз в год |
| Ячейка электролиза | 1 раз в год |
| Водосчетчик | 1 раз в год |
| Отсутствие соли | 1 раз в год |
| Двигатель привода | 1 раз в год |
| Контроль/чистка/замена | |
| Уплотнения кожуха | 1 раз в год |
| Инжектор | 1 раз в 5 лет |
| Ячейка электролиза | 1 раз в 5 лет |
| Водосчетчик | 1 раз в 5 лет |
| Клапан для рассола | 1 раз в 5 лет |
| Шланг для отработанной воды | 1 раз в 5 лет |
| Обратный клапан | 1 раз в 5 лет |
| Устройство смешивания | 1 раз в 5 лет |
| Двойной клапан и емкость | 1 раз в 10 лет |
Замену изношенных деталей должны производить специалисты сервисной службы или монтажной фирмы.
Рекомендуем заключить договор со специалистами сервисной службы или монтажной фирмы.
| Установка умягчения Rondomat Duo 1. серия тип | S1 | S2 | S3 |
|---|---|---|---|
| Условный проход, DN | 32 (G 11/4ir) | ||
| Давление в сети, PN | 10 | ||
| Диапазон рабочего давления, бар | 2 - 8 | ||
| Номинальный расход, л/ч | 1500 | 2000 | 3000 |
| Потери давления при номинальном расходе без подмешивания, бар | 0,6 | 0,6 | 0,9 |
| Номинальный расход при Δp 1,0 бар, EN 14743, л/ч 2000 2600 3200 | |||
| Номинальная емкость, EN 14743 (при регенерации через 96 часов), моль/кг | 5,7 (7,6) | 7,6 (11,1) | 17,6 (23,9) |
| Эффективность солевой обработки (при регенерации через 96 часов), моль/кг | 6,6 (6,2) | 6,3 (5,4) | 7,0 (6,9) |
| Количество сточной воды (при регенерации через 96 часов), л | 42 (72) | 60 (100) | 100 (175) |
| Колонка, количество ионообменной смолы, л Количество регенерирующего средства на 1 регенерацию, прибл., кг |
большая/малая 8/14 0,37/0,86 |
большая/малая 9,5/18 0,85/1,2 |
большая/малая 18/43 0,95/2,5 |
| Запас регенерирующего средства в емкости, макс., кг | 100 | ||
| Netzanschluss, В/Гц | 230/50 - 60 | ||
| Потребляемая мощность при работе / регенерации, макс., Вт | 2,6/40 | ||
| Напряжение установки, В DC | 24 | ||
| Тип защиты, IP | 54 | ||
| Температура воды/окр. среды, мин. – макс, °C | 5 - 30 / 5 - 40 | ||
| Высота, прибл., мм | 1310 | 1310 | 1530 |
| Ширина, прибл., мм | 715 | 740 | 790 |
| Глубина, прибл., мм | 660 | 670 | 700 |
| Высота подсоединения A1 и A2, мм | 952/1012 | 952/1012 | 1170/1230 |
| Высота перелива емкости для регенерирующего средства, мм | 560 | ||
| Подсоединение к канализации, мин., DN | 50 | ||
| Рабочий вес, прибл., кг | 225 | 255 | 330 |
| Вес при отгрузке, прибл., кг | 80 | 95 | 155 |
| Номер изделия, PNR | 6-512614 | 6-512615 | 6-512616 |

| Нарушение | Причина | Устранение |
|---|---|---|
| Дисплей показывает недостаток соли. | Недостаточно регенерирующего в емкости (3). | Добавить регенерирующее средство и нажимать кнопку OK, пока не погаснет индикация недостатка соли. |
| Установка не подает умягченную или смешанную воду. | Нет регенерирующего средства в емкости (3). Прервана подача напряжения Неправильно настроена жесткость смешанной воды |
Добавить регенерирующее средство и нажимать кнопку ОК, пока не погаснет надпись Выждать 3 часа для образования соли и вручную запустить последовательно регенерацию обеих колонок Восстановить подачу напряжения Настроить по главе «Запуск», раздел «Настройка жесткости смешанной воды». |
| Установка не подает умягченную воду, или маленький расход | Слишком низкое давление перед установкой | Повысить давление (при необходимости настроить редуктор давления и запустить ручную регенерацию) |
| Горит индикация «Недостаточно рассола», хотя регенерирующее средство добавлено | Создалось полое пространство над контактным выключателем на решетчатом дне | Тщательно перемешать рукой регенерирующее средство в отсеке для рассола. |
| Окрашенная промывочная вода при запуске. | Частицы от истирания ионообменной смолы. | Повторить промывку из главы «Запуск» |
| Ошибка при самопроверкe | Слишком маленькое давление Слишком низкий поток воды Слишком высокий уровень воды в емкости для запаса регенерирующего средства |
Проверить редуктор давления (в идеале 3 - 5 бар) Сильнее выкрутить кран Отчерпать воду из емкости Уровень воды должен быть прибл. 1 см над решетчатым дном |
Если с помощью указанных мер не удается устранить нарушение, обращайтесь в сервисную службу (указывая типовую табличку на обратной стороне установки
Заполняется при запуске

База знаний